zookeeper配置为集群模式时,在启动或异常情况时会选举出一个实例作为Leader。其默认选举算法为FastLeaderElection。
不知道zookeeper的可以考虑这样一个问题:某个服务可以配置为多个实例共同构成一个集群对外提供服务。其每一个实例本地都存有冗余数据,每一个实例都可以直接对外提供读写服务。在这个集群中为了保证数据的一致性,需要有一个Leader来协调一些事务。那么问题来了:如何确定哪一个实例是Leader呢?
问题的难点在于:
- 没有一个仲裁者来选定Leader
- 每一个实例本地可能已经存在数据,不确定哪个实例上的数据是最新的
分布式选举算法正是用来解决这个问题的。
本文基于zookeeper 3.4.6 的源码进行分析。FastLeaderElection算法的源码全部位于FastLeaderElection.java文件中,其对外接口为FastLeaderElection.lookForLeader,该接口是一个同步接口,直到选举结束才会返回。同样由于网上已有类似文章,所以我就从图示的角度来阐述。阅读一些其他文章有利于获得初步印象:
主要流程
阅读代码和以上推荐文章可以把整个流程梳理清楚。实现上,包括了一个消息处理主循环,也是选举的主要逻辑,以及一个消息发送队列处理线程和消息解码线程。主要流程可概括为下图: 
推荐对照着推荐的文章及代码理解,不赘述。
我们从感性上来理解这个算法。
每一个节点,相当于一个选民,他们都有自己的推荐人,最开始他们都推荐自己。谁更适合成为Leader有一个简单的规则,例如sid够大(配置)、持有的数据够新(zxid够大)。每个选民都告诉其他选民自己目前的推荐人是谁,类似于出去搞宣传拉拢其他选民。每一个选民发现有比自己更适合的人时就转而推荐这个更适合的人。最后,大部分人意见一致时,就可以结束选举。
就这么简单。总体上有一种不断演化逼近结果的感觉。
当然,会有些特殊情况的处理。例如总共3个选民,1和2已经确定3是Leader,但3还不知情,此时就走入LEADING/FOLLOWING的分支,选民3只是接收结果。
代码中不是所有逻辑都在这个大流程中完成的。在接收消息线程中,还可能单独地回应某个节点(WorkerReceiver.run):

从这里可以看出,当某个节点已经确定选举结果不再处于LOOKING状态时,其收到LOOKING消息时都会直接回应选举的最终结果。结合上面那个比方,相当于某次选举结束了,这个时候来了选民4又发起一次新的选举,那么其他选民就直接告诉它当前的Leader情况。相当于,在这个集群主从已经就绪的情况下,又开启了一个实例,这个实例就会直接使用当前的选举结果。
状态转换
每个节点上有一些关键的数据结构:
- 当前推荐人,初始推荐自己,每次收到其他更好的推荐人时就更新
- 其他人的投票集合,用于确定何时选举结束
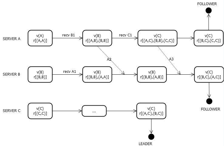
每次推荐人更新时就会进行广播,正是这个不断地广播驱动整个算法趋向于结果。假设有3个节点A/B/C,其都还没有数据,按照sid关系为C>B>A,那么按照规则,C更可能成为Leader,其各个节点的状态转换为:

图中,v(A)表示当前推荐人为A;r[]表示收到的投票集合。需要注意一个细节,初始投票集合里包含了自己的投票,代码中自己会将推荐人推荐给自己,网络模块(QuorumCnxManager)直接将该消息放入接收队列。
可以看看当其他节点已经确定投票结果时,即不再是LOOKING时的状态:

代码中有一个特殊的投票集合outofelection,我理解为选举已结束的那些投票,这些投票仅用于表征选举结果。
当一个新启动的节点加入集群时,它对集群内其他节点发出投票请求,而其他节点已不处于LOOKING状态,此时其他节点回应选举结果,该节点收集这些结果到outofelection中,最终在收到合法LEADER消息且这些选票也构成选举结束条件时,该节点就结束自己的选举行为。注意到代码中会logicalclock = n.electionEpoch;更新选举轮数
完